Friday, February 20, 2015

Osco Gate Opener

Images of Osco Gate Opener

Swing Installation Guide - Gate Openers Gate Operators ...
HSLG OPERATOR INSTALLATION GUIDE - 3 - Read the following before beginning to install OSCO slide gate operators: 1. Read the yellow “Safety Instructions” brochure enclosed ... Fetch Document

Osco Gate Opener Images

Instructions For Wired And Wireless Installations
Wired Installation of the Keypad NOTE: If you also plan to power the keypad with the gate opener’s power source, run two pairs of wires as described below. ... Access Doc

Osco Gate Opener Pictures

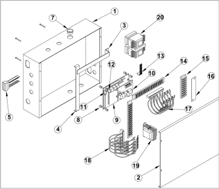
Model HSLG Exploded View - Affordable Gate Openers, Garage ...
HSLG Slide Gate Operator Installation Guide - 28 - P1220 Revision X8 6-22-2011 Model HSLG Exploded View ... View Doc

Pictures of Osco Gate Opener

HEAVY DUTY SLIDE GATE OPERATORS - LAOrnamental
HEAVY DUTY SLIDE GATE OPERATORS Model HSLG HSLG COMMERCIAL/INDUSTRIAL • Double V-belt to chain reduction • #40 roller chain • 1/2,3/4,or 1 HP motor ... View Full Source

Osco Gate Opener Images


SLR † SLC † SLD OPERATOR INSTALLATION GUIDE - 3 - Read the following before beginning to install OSCO slide gate operators: 1. Read the yellow “Safety Instructions” brochure enclosed ... Document Retrieval

Images of Osco Gate Opener

ARD - LiftMaster
6 1. Vehicular gate systems provide convenience and security. Gate systems are comprised of many component parts. The gate operator is only one component. ... Document Viewer

Osco Gate Opener Pictures

P1220 APeX HSLG Manual - Linear
HSLG Slide Gate Operator Installation Guide Operator models contained in this manual conform to UL325 standard for use in Class I, II, III, and IV applications ... Get Content Here

Osco Gate Opener Photos

1961 Linear Corporation Is Founded By Ted Farrell, Who Serves ...
The opener to conform to demanding UL safety requirements. 2003 Adding swing and slide gate openers to the growing product line, (OSCO) of Casnovia,Mich. FROM THE PAGES OF Milestones HISTORY Linear Corporation Photos 1. Founders Ted Farrell (left) and William Schanbacher, 1980. 2. ... View This Document

Photos of Osco Gate Opener

GATE OPERATOR WIRING DIAGRAM - C-Gate Entry Systems
Gate operator wiring diagram standard loop detectors j2 plug j1 plug applications: control wiring type – s3 field wiring & adjustments notes: 1) transformer primary voltage same as operator line ... Content Retrieval

Osco Gate Opener Photos

Swing Installation Guide - Gate Openers Gate Operators ...
GSLG-A OPERATOR INSTALLATION GUIDE - 3 - Read the following before beginning to install OSCO slide gate operators: 1. Read the yellow “Safety Instructions” brochure enclosed ... Doc Viewer

Osco Systems Valve Gate Sequencer (VGS) Controller ... - YouTube
Osco Systems President, Jane Johnson, discusses the Valve Gate Sequencer Controller unit. ... View Video

Pictures of Osco Gate Opener

Power Master Gate Opener Manual
Power Master Gate Opener Manual On our website we own trustworthy to amass the most valuable manuscripts Power master gate opener manual pdf. You can get Power master gate opener manual 7363310. ... View Doc

Osco Gate Opener

Wiring Diagrams Page - Domino Engineering
Commercial Operator Wiring Diagrams List Below is a list of various commercial wiring diagrams we have available to Osco H & HR Osco JMB OVERHEAD Overhead Type EL-FL-SFL-L Overhead RDB 51 RAYNOR Raynor SR Raynor RT 321 VEMCO Vemco K & KB ... Read Content

Linear/Osco HSLG Slide Gate Openers - YouTube
Http://lineargateopeners.com/store/in Linear Osco HSLG SERIES - Commercial or industrial slide gate operator series, available in 1/2, 3/4, and 1 horsepower, various supply voltages and phases, 10" per second speed. http://lineargateopeners.com/store/in ... View Video

Osco Gate Opener

Instructions For Gate Opener Single Button Entry Transmitter
Instructions for Gate Opener Single Button Entry Transmitter FCC Regulation: This device complies with Part 15 of the FCC Rules. Operation is subject to the following two conditions: (1) This device may not cause harmful ... Content Retrieval

Osco Gate Opener Photos

Glossary Of Ancient Roman Religion - Wikipedia, The Free ...
The formula do ut des ("I give that you might give") expresses the reciprocity of exchange between human being and deity, reflecting the importance of gift-giving as a mutual obligation in ancient society and the contractual nature of Roman religion. ... Read Article

Images of Osco Gate Opener

RS Manual 2002 - Linear
OSCO requires use of an electric edge or photoelectric control for pedestrian protection on all automatic gate travel required, the shape of the limit cam, RS Manual 2002 Created Date: ... Read More

Photos of Osco Gate Opener

1cr P The Proposed Resolution Declares Certain Equipment As ...
2054516 OSCO Gate Opener 2063237 SmithLovelessLS30 15 Hp Duplex 164505 2063239 SmithLovelessLS32 75Hp Duplex 164507 206 SmithLovelessLS61 5 Hp Duplex 153069 2063256 Generac GS100 Generator 24 887667 2103100 Cherney 15 30 Multi Size Plug FIRE DEPARTMENT ... Get Content Here

Osco Gate Opener Images

The Preferred Distributor For Gate Operators, Door Operators ...
Gate-secure: during power outages, an electric lock keeps a closed gate locked. HYSECURITY X-9 SWING GATE LINEAR/OSCO . Page 9 GATE OPERATORS ORS HYSECURITY BOLLARDS The J Series bollard represents a new generation access control ... View Full Source

Osco Gate Opener Photos

GTO Gate Opener Gate Operator Manual Timer - Www.gtopro.com
1. Press the “TIMER” button. “ 1ON” will appear at the bottom left of the display. You can now set “Program 1ON” options for when you want the device to be turned “On”. ... Fetch Full Source

Images of Osco Gate Opener

Chamberlain Elite Gate Operator Manual - WordPress.com
Chamberlain Elite Gate Operator Manual Elite Gates is the top provider of gate openers and entry systems, along with accessories and parts for your electric gate. ... Retrieve Doc

Osco Gate Opener Pictures

HEAVY DUTY SLIDE GATE OPERATORS - LAOrnamental
HEAVY DUTY SLIDE GATE OPERATORS Model GSLG-A GSLG-A INDUSTRIAL • Direct motor to gear reducer drive • C-face brake • #50 roller chain • 1/2,3/4,or 1 HP motor OSCO, a subsidiary of Linear (800) 333-1717 • www.operatorspecialty.com ... Fetch Doc

Osco Gate Opener


SWR† SWC † SWD GATE ARM ASSEMBLY PARTS LIST. SWR † SWC † SWD OPERATOR INSTALLATION GUIDE - 33 - MODEL SWD BATTERY MAINTENANCE OSCO gate operators are designed for many years of trouble-free operation and, under recommended operating conditions, will ... Return Document

No comments:

Post a Comment